Quanto sono strani i fotoni!

Elio Fabri

Ultima revisione: 27-10-98


Molti di voi non immaginano neppure quanto.
L'avere massa nulla non è che una delle stranezze, anche se dà tanto da pensare a tanti: c'è chi crede che togliere la massa significhi togliere realtà, e c'è invece chi pensa che sia una stimmata di "purezza" (quante volte avrete letto la stupidissima espressione "energia pura"?)

Dalla massa nulla seguono altre stranezze: non si può definire in modo chiaro la posizione di un fotone. E non facciamo confusione: non si tratta della solita questione connessa col principio d'indeterminazione; qui c'è una difficoltà più profonda e particolare. È proprio l'osservabile "posizione" che per un fotone non può essere definita (niente filosofia, per favore: si tratta di una questione squisitamente tecnica). Invece non c'è nessuna difficoltà con l'impulso.

Poi un fotone condivide tutte le "stranezze" delle particelle quantistiche, circa la specificazione del suo stato.
Per es. non è vero in assoluto che un fotone abbia sempre una precisa energia: può benissimo essere in uno stato in cui l'energia non è definita, anzi questa è la regola.
La stessa cosa succede con l'impulso; anzi può accadere che un fotone abbia energia quasi esattamente definita e impulso completamente indeterminato (fra un momento farò un esempio concreto).
Come può succedere questo? Semplicemente perché l'energia è uno scalare e l'impulso un vettore, per cui può accadere che il modulo dell'impulso sia ben definito, ma la sua direzione sia del tutto indeterminata.

È quello che succede quando un atomo emette un fotone.
Dato che l'atomo passa da uno stato di energia a un altro, con energie quasi esattamente definite, lo stesso è vero per il fotone che esce.
Però la direzione in cui il fotone viene emesso non è definita, che non è la stessa cosa come dire che non è conosciuta. Non bisogna pensare a un'indeterminazione statistica, del tipo "se ho tanti atomi, uno emette il fotone in una direzione, uno in un'altra, per cui complessivamente ho tante direzioni possibili, ma ciascun fotone esce in una direzione precisa".
Niente affatto: è proprio lo stato del singolo fotone che non ha impulso (quindi direzione) neppure approssimativamente determinata.

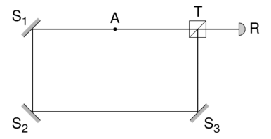
Un esperimento ideale chiarirà quello che ho in mente. Nella figura, A è l'atomo che emette; S1, S2, S3 sono specchi ordinari, T è uno specchio semiriflettente ("beam splitter" = divisore di fascio), R un rivelatore.
Un fotone emesso da A può arrivare in R seguendo il percorso ATR, oppure il percorso AS1S2S3TR. A seconda di come sono aggiustate le distanze, la probabilità che il fotone arrivi in R può andare da zero a un massimo, che non è il doppio di quella che avrei ostruendo uno dei due percorsi, ma il quadruplo!
Questo è un tipico esempio d'interferenza.

Altra stranezza dei fotoni: immaginate una stella e due telescopi separati, che ricevono luce da quella stella. Possiamo registrare i tempi di arrivo dei fotoni a ciascun telescopio, e in particolare misurare la probabilità che essi ricevano insieme un fotone ciascuno (quella che si chiama una coincidenza).
Ebbene: questa probabilità dipende da dove si trova la stella (dalla differenza della sua distanza dai due telescopi).
In questo caso due fotoni in qualche modo si influenzano a vicenda, sebbene uno sia stato rivelato da un telescopio, e uno dall'altro.
Esperimento ideale? Niente affatto: questo si fa, da più di 40 anni, e si chiama "interferometro di Hanbury-Brown e Twiss".
Tutto dipende dal fatto che i fotoni sono "bosoni", e lo stato di due fotoni è cosa diversa dai due stati di ciascun fotone preso a sé. In termini più tecnici, occorre considerare uno stato del campo e.m. con due fotoni presenti.
Non si può ridurre il campo e.m. a fotoni visti uno per uno, e d'altra parte il campo e.m. è un oggetto quantistico, che non si può capire soltanto in termini classici (eq. di Maxwell).

Non posso aspettarmi che tutto ciò che ho scritto sia perfettamente chiaro a chi non ha studiato abbastanza fisica.
Ma il mio scopo era solo mostrare, riferendomi a situazioni reali, che i fotoni non sono cose di cui si possa parlare in modo intuitivo, con vaghi riferimenti a una qualche immagine di particelle. Occorre una precisa teoria.
Altrimenti si fanno solo pericolosi giochi di parole, con i quali si dimostra tutto e il contrario di tutto.